Гараж в отличие от охраняемой автостоянки обеспечит защиту машины не только от...
|
Гараж в отличие от охраняемой автостоянки обеспечит защиту машины не только от... |
Комфортное проживание в доме всецело зависит от качества материалов, используемых при... |
ДВП – аббревиатура деревоплитного материала, изготавливаемого из древесины,... |
Консольный водяной насос является качественной и надёжной конструкцией. Он применяется для перекачивания чистой холодной или горячей воды, с допустимым небольшим количеством твёрдых концентраций (до 0,1% при самом максимальном размере 0,2 мм). КПД этих насосов равняется 60-80%, в зависимости от модели и мощности электродвигателя. Консольные моноблочные водяные насосы имеют как сальниковое, так и торцевое уплотнение, второе является наиболее качественными. Рабочая температура при сальниковом уплотнении должна быть 0-85 градусов, а при торцевом допускается до 105 градусов. Категорически запрещается эксплуатация данных насосов на производствах связанных с пожароопасностью и взрывоопасностью. А также с их помощью нельзя перекачивать горючие жидкости.
Содержание:
В большинстве случаев для перекачки воды применяются центробежные консольные насосы типа К. В их ходовой части находится вал, опирающийся на подшипник, на котором расположено рабочее колесо. Также он оснащён компенсационной камерой, которая позволяет избежать возможных протечек при сильном напоре.
Задний и передний уплотнители создают блокировку внешних и внутренних протечек. Через сальник протечки не удаляются и служат смазкой, тем самым являясь препятствием для перегрева двигателя. Защитная втулка предохраняет вал, находящийся над сальником, от износа.
В диске рабочего колеса возможны разгрузочные отверстия, служащие для равновесия осевой силы. Они допустимы для конструкций мощностью в 10 кВт и более, так как при меньшей мощности осевая сила контролируется подшипниками.
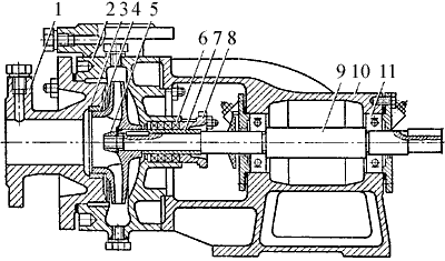
Чертеж консольного насоса
1. Крышка . 2 корпус. 3.Сменные уплотнительные кольца. 4. Рабочее колесо. 5. Гайка. 6. Сальниковая набивка. 7. Сменная втулка. 8. Сальниковая крышка. 9.Вал. 10. Опорный кронштейн. 11. Шариковый подшипник.
Моноблочные консольные насосы отличаются тем, что рабочее колесо находится на конце вала. Это более мощные конструкции, которые называются насосами типа "КМ". Применяются они в основном на производстве и на предприятиях в инженерной системе. Имея такие мощные преимущества, данная конструкция обладает крупным размером, большим весом и ненадёжным уплотнителем, вследствие чего требуется регулярно производить осмотр насоса, и вовремя устранять различные неисправности. Ещё одним отрицательным качеством этих конструкций является, сложность и неудобство замены электродвигателя. Ремонт насосов типа «КМ» более длительный, дорогой и трудоёмкий, чем у типа «К».
Принцип работы консольных насосов несложный, и определяется конструктивными особенностями.
Во время включения электрического двигателя в сеть, лопасти рабочего колеса начинают вращение, за счёт этого происходит давление и вода перекачивается, тем самым поступая в одно отверстие и выходя в другое, которое находится в противоположной стороне. Вращение рабочего колеса делает большое ускорение, способствующее увеличению скорости для перекачки жидкости.
Однако слишком большое число оборотов двигателя, приводит к понижению давления всасывающего отверстия, что вызывает кавитацию. Она образуется в процессе парообразования с дальнейшей конденсацией воздуха, находящегося в рабочей жидкости. Поэтому выбирать консольный насос нужно с опытным человеком.
Выбор осуществляется при помощи каталогов, в которых дают сведения об их применении и назначении, а также описание конструкции, графические и технические характеристики. Помимо этого, в них даются чертежи с указанием присоединительных размеров и габаритов.
Организациям, создающим проект, рекомендуется использование каталога, только во время технического проектирования, так как создаётся новый ГОСТ «Насосы центробежные консольные с осевым входом для воды». При проектировании за более точными сведениями следует обращаться на заводы-производители.
Выбирая насос нужно учитывать, чтобы режим работы соответствовал его характеристикам. Рассмотрим метод выбора консольных насосов типа К.
Размер насоса подбирают по самой максимальной подаче жидкости. По напору и подаче на графике полей Q-H заранее выбирают насос нужного размера, а потом по графической характеристике делают правильный выбор.
По технической и графической характеристике определяют нужный диаметр рабочего колеса. Кривая напора у него должна проходить через заданную точку параметров по напору и подачи жидкости, или быть выше её.
Во время выбора насоса, главным образом нужно обеспечить кавитационную работу. Поэтому следует убедиться, что выбранная конструкция по навигационным качествам действительно соответствует системе для установки агрегата.
Кавитационный запас системы Δ h = ((p a - p t) / γ) - [± H 0] - Σ h b w. Где :
Допустимый кавитационный запас выбираемой конструкции насоса Δ h и мощность определяется по графической характеристике, при максимальной подаче.
Мощность требуемого электрического двигателя Nэ равна Nэ = R N γ/1OOO.
Технические характеристики консольных насосов и средняя стоимость на самые популярные модели
Двигатель-80А2 1,5 кВт, подача-8 кубометров в час, напор-18 м, масса-61 кг, габариты-79/23/33, цена-6 472 00 руб.
Двигатель-100s2 4,0 кВт, подача-20 кубометров в час, напор-30 м, масса-77 кг, габариты-87/28/34, цена-8 721 00 руб.

Двигатель-112М2 7,5 кВт, подача-45 кубометров в час, напор-30 м, масса-158 кг, цена-50 552 руб.
Двигатель-180М4 30 кВт, подача-160 кубометров, напор 30 м, масса-420 кг, цена-50 552 00 руб.

Двигатель-200М4 37 кВт, подача-290 кубометров в час, напор-30 м, масса-550 кг, цена-68 26 руб
Различную вибрацию и шумы вызывают вращение роторов и двигателя, а также поток в соединениях и трубах. Наиболее эффективными средствами для их снижения, являются вибровставки и виброопоры. Для предотвращения передачи вибрации на здание, требуется сделать изоляцию фундамента насоса от дома при помощи виброопор.
При выборе виброопоры следует учитывать следующие данные: силу, которая передаётся по опоре, частоту вращения электрического двигателя с учётом контроля и требуемую величину гашения вибрации. Величина гашения измеряется в процентах, желательно, чтобы она была не менее 70%.
Подборка виброопор происходит по-разному, всё зависит в каких условиях будет выполняться монтаж. В некоторых случаях неправильно выбранные виброопоры вполне могут не только не погасить вибрацию, а наоборот увеличить её уровень. Поэтому выбор виброопор должен производиться проектировщиками.
Вибровставка - эластичная гибкая вставка, её предназначение предотвращать вибрации в трубопроводных системах, например, в насосных оборудованиях. Она создаёт восстановление тепловых удлинений в пределах деформации, обозначенных в технических характеристиках, и защищает оборудование от механического воздействия.
По заказу, для гибких вибровставок поставляются контрольные стержни, их применяют для ограничения и защиты вставок от деформации. Диаметр стержней должен быть не менее 100 мм.
Во время установки насоса на фундамент с виброопорами всегда следует ставить на фланцы вибровставки. Это нужно для того, чтобы при вибрации насос не повис на них.
Вибровставки устанавливают для погашения сжатия и расширения в трубопроводах, которое создаётся переменой температуры жидкости. Также они снижают механическое напряжение, образующееся в трубопроводе скачками давления, и изолируют шум. Их нельзя устанавливать для восстановления неточности в трубопроводе, например, смещение фланцев.
Крепить вибровставку от насоса надо на расстоянии равном 1-2 номинальному диаметру фланца, с напорной стороны трубы и со стороны всасывающей трубы. Это предотвращает в ней наличие турбулентного потока, создает хорошие условия при всасывании и вызывает незначительное падение давление напорного трубопровода.
При большой скорости потока жидкости, следует ставить вибровставки размером больше, чтобы он соответствовали диаметру трубопровода. Если фланцы превышают DN 100, то необходимо применять вибровставки с ограничительными стяжками.
Всего существует два вида ремонта консольных насосов: капитальный и текущий.
Потребность ремонта насоса зависит от условий эксплуатации. Виды ремонтов и расход запчастей, который указывается в технической документации, устанавливается по среднему показателю надёжности. При всём этом расчёты делаются из условий перекачивания насосами чистой жидкости с количеством взвешенных частиц, не превышающих 3 кг/м3. Поэтому потребность в ремонтных работах для каких-либо конкретных условий, может сильно отличаться от расчётной. Существуют структурные схемы, в которых отображена очерёдность различных видов ремонта.
Структурная схема ремонтного цикла крупногабаритного консольного насоса имеет такой вид:
Н-Т-Т-Т-Т-Т-К, где Н-начало эксплуатации; Т-текущий ремонт; К-капитальный ремонт.
Текущий ремонт производится для профилактики. В него входит замена износившихся запчастей и регулировка оборудования. В этом случае осматривают проточную часть, замеряют зазоры между валом и вкладышами подшипника двигателя и насоса.
Капитальный - это объёмный плановый ремонт, он заключается в полной разборке агрегата, замене или восстановлении деталей, регулировке и испытанию по программе, составленной ремонтной и эксплуатационной документацией.